icona-ricerca_bg
icona-accedi-registrati_bg

Area riservata/Registrati

Si informano i gentili utenti che, al momento, l’acquisto dei prodotti IGM è effettuabile esclusivamente tramite il sito ufficiale www.igmi.org
Il servizio di vendita diretta su questa piattaforma è in fase di implementazione e sarà reso disponibile prossimamente. Ci scusiamo per il temporaneo disagio.
Anteprima a bassa risoluzione del file originale e coperta da filigrana

233207 – MONTE SA FASSATEULA

ID Univoco del prodotto: 21943

12,20  IVA incl.

Selezione modalità di acquisto

Descrizione

233207 – MONTE SA FASSATEULA

Informazioni aggiuntive

Codice e denominazione

233207 - MONTE SA FASSATEULA

Coordinate ETRF2000

39°15'34"N, 8°31'49"N

Anno misura

1958-01-01

Materializzazione

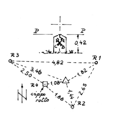
Segnale sul punto più alto del monte. Centrino di fondo cementato sopra un pilastrino in pietra. Riferimenti: tre centrini metallici (R1,R2,R3) ed un pilas- trino rotto (R4).

Accesso

Da Bariga fino alla valletta sottostante il segnale con automezzo; di qui, a piedi,in trenta minuti.

Info ausiliarie
Anno istituzione

1958-01-01T00:00:00+00:00

Ordine del vertice

4

Tipo di vertice

Vertici di certa definizione

Prodotti simili

162095 – LAMA DEI RUSSI

12,20  IVA incl.