Descrizione
230103 – REGIONE ZAGARIA
12,20 € IVA incl.
230103 – REGIONE ZAGARIA
| Codice e denominazione | 230103 - REGIONE ZAGARIA |
|---|---|
| Coordinate ETRF2000 | 39°22'18"N, 16°32'0"N |
| Anno misura | 1938-01-01 |
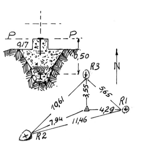
| Materializzazione | Segnale a 400 metri a nord del gruppo di case denominato Zagaria. Centrino di superficie e di fondo. Riferimenti: come da pianta. |
| Accesso | |
| Info ausiliarie | |
| Anno istituzione | 1938-01-01T00:00:00+00:00 |
| Ordine del vertice | 4 |
| Tipo di vertice | Vertici di certa definizione |