icona-ricerca_bg
icona-accedi-registrati_bg

Area riservata/Registrati

Si informano i gentili utenti che, al momento, l’acquisto dei prodotti IGM è effettuabile esclusivamente tramite il sito ufficiale www.igmi.org
Il servizio di vendita diretta su questa piattaforma è in fase di implementazione e sarà reso disponibile prossimamente. Ci scusiamo per il temporaneo disagio.
Anteprima a bassa risoluzione del file originale e coperta da filigrana

230074 – MONTE SORDILLO

ID Univoco del prodotto: 22712

12,20  IVA incl.

Selezione modalità di acquisto

Descrizione

230074 – MONTE SORDILLO

Informazioni aggiuntive

Codice e denominazione

230074 - MONTE SORDILLO

Coordinate ETRF2000

39°24'9"N, 16°37'42"N

Anno misura

1938-01-01

Materializzazione

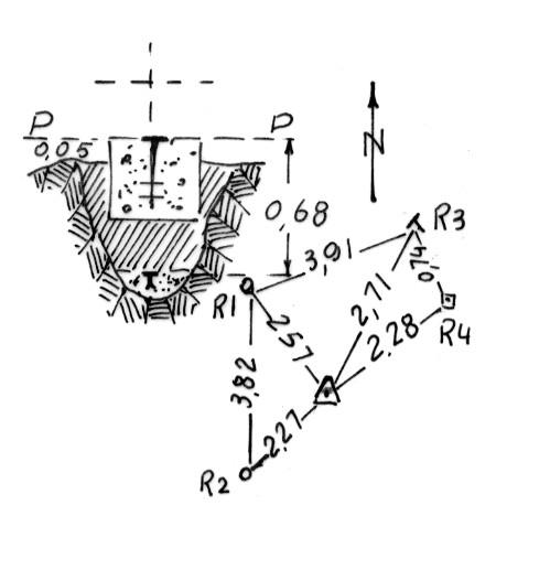
Segnale sulle pendici orientali del monte. Centrino di superficie e di fondo. Riferimenti: (R1, R2) centrini, (R3) T inciso su roccia, (R4) catastale.

Accesso

Da S. Barbara per rotabile e mulattiera in circa ore 1 e un quarto.

Info ausiliarie
Anno istituzione

1938-01-01T00:00:00+00:00

Ordine del vertice

4

Tipo di vertice

Vertici di certa definizione

Prodotti simili

102084 – CIPPO N.418

2,44  IVA incl.