icona-ricerca_bg
icona-accedi-registrati_bg

Area riservata/Registrati

Si informano i gentili utenti che, al momento, l’acquisto dei prodotti IGM è effettuabile esclusivamente tramite il sito ufficiale www.igmi.org
Il servizio di vendita diretta su questa piattaforma è in fase di implementazione e sarà reso disponibile prossimamente. Ci scusiamo per il temporaneo disagio.
Anteprima a bassa risoluzione del file originale e coperta da filigrana

230062 – MONTE IURENTINO

ID Univoco del prodotto: 22724

12,20  IVA incl.

Selezione modalità di acquisto

Descrizione

230062 – MONTE IURENTINO

Informazioni aggiuntive

Codice e denominazione

230062 - MONTE IURENTINO

Coordinate ETRF2000

39°28'32"N, 16°39'3"N

Anno misura

1938-01-01

Materializzazione

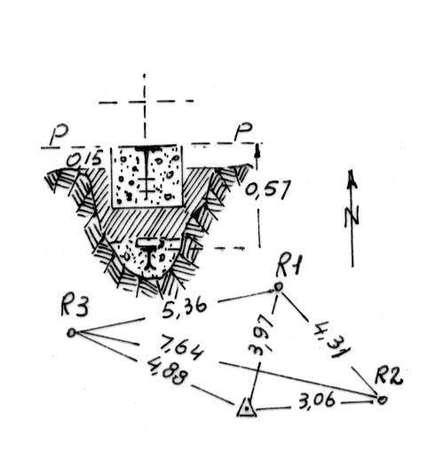
Segnale sulla cima del monte. Centrino di superficie e di fondo. Riferimenti: come da pianta.

Accesso

Da Longobucco per mulattiera e sentiero in 3 ore.

Info ausiliarie
Anno istituzione

1938-01-01T00:00:00+00:00

Ordine del vertice

3

Tipo di vertice

Vertici di certa definizione

Prodotti simili

159038 – MONTE TRAVE

12,20  IVA incl.