icona-ricerca_bg
icona-accedi-registrati_bg

Area riservata/Registrati

Si informano i gentili utenti che, al momento, l’acquisto dei prodotti IGM è effettuabile esclusivamente tramite il sito ufficiale www.igmi.org
Il servizio di vendita diretta su questa piattaforma è in fase di implementazione e sarà reso disponibile prossimamente. Ci scusiamo per il temporaneo disagio.
Anteprima a bassa risoluzione del file originale e coperta da filigrana

237001 – SERRA DI ANTILIA

ID Univoco del prodotto: 23148

12,20  IVA incl.

Selezione modalità di acquisto

Descrizione

237001 – SERRA DI ANTILIA

Informazioni aggiuntive

Codice e denominazione

237001 - SERRA DI ANTILIA

Coordinate ETRF2000

39°10'31"N, 16°53'8"N

Anno misura

1938-01-01

Materializzazione

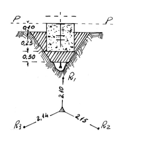
Segnale sopra una collina. Centrini di fondo e di superficie in un blocco di calcestruzzo. Riferimenti: come da pianta.

Accesso
Info ausiliarie
Anno istituzione

1938-01-01T00:00:00+00:00

Ordine del vertice

3

Tipo di vertice

Vertici di certa definizione

Prodotti simili

177059 – LO STAGLIO – FC

12,20  IVA incl.