icona-ricerca_bg
icona-accedi-registrati_bg

Area riservata/Registrati

Si informano i gentili utenti che, al momento, l’acquisto dei prodotti IGM è effettuabile esclusivamente tramite il sito ufficiale www.igmi.org
Il servizio di vendita diretta su questa piattaforma è in fase di implementazione e sarà reso disponibile prossimamente. Ci scusiamo per il temporaneo disagio.
Anteprima a bassa risoluzione del file originale e coperta da filigrana

219066 – MONTE ARISTA

ID Univoco del prodotto: 23316

12,20  IVA incl.

Selezione modalità di acquisto

Descrizione

219066 – MONTE ARISTA

Informazioni aggiuntive

Codice e denominazione

219066 - MONTE ARISTA

Coordinate ETRF2000

39°45'43"N, 9°39'3"N

Anno misura

1958-01-01

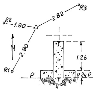
Materializzazione

Segnale sulla cima del monte. Centrino di profondità con sovrastante pilastrino in muratura portante alla sommità un centrino del tipo di fondo. Riferimenti: Tre centrini metallici.

Accesso

Da casa Musedda in circa due ore di cammino.

Info ausiliarie
Anno istituzione

1958-01-01T00:00:00+00:00

Ordine del vertice

4

Tipo di vertice

Vertici di certa definizione

Prodotti simili

102081 – CIMA DI REGLIE

2,44  IVA incl.