icona-ricerca_bg
icona-accedi-registrati_bg

Area riservata/Registrati

Si informano i gentili utenti che, al momento, l’acquisto dei prodotti IGM è effettuabile esclusivamente tramite il sito ufficiale www.igmi.org
Il servizio di vendita diretta su questa piattaforma è in fase di implementazione e sarà reso disponibile prossimamente. Ci scusiamo per il temporaneo disagio.
Anteprima a bassa risoluzione del file originale e coperta da filigrana

229126 – SERRA CASTELLARA

ID Univoco del prodotto: 23917

12,20  IVA incl.

Selezione modalità di acquisto

Descrizione

229126 – SERRA CASTELLARA

Informazioni aggiuntive

Codice e denominazione

229126 - SERRA CASTELLARA

Coordinate ETRF2000

39°25'15"N, 16°20'44"N

Anno misura

1961-01-01

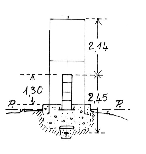
Materializzazione

Segnale sulla sommità del monte. Pilastrino triangolare in ferro con sottostante pietra con croce e data (1869) e centrino, coassiali, come da sezione. Mira in ferro.

Accesso

Dalla cantoniera al bivio per Luzzi, sulla provinciale Rose. Mucone in 15 minuti di cammino.

Info ausiliarie
Anno istituzione

1939-01-01T00:00:00+00:00

Ordine del vertice

1

Tipo di vertice

Vertici di certa definizione

Prodotti simili

162095 – LAMA DEI RUSSI

12,20  IVA incl.