icona-ricerca_bg
icona-accedi-registrati_bg

Area riservata/Registrati

Si informano i gentili utenti che, al momento, l’acquisto dei prodotti IGM è effettuabile esclusivamente tramite il sito ufficiale www.igmi.org
Il servizio di vendita diretta su questa piattaforma è in fase di implementazione e sarà reso disponibile prossimamente. Ci scusiamo per il temporaneo disagio.
Anteprima a bassa risoluzione del file originale e coperta da filigrana

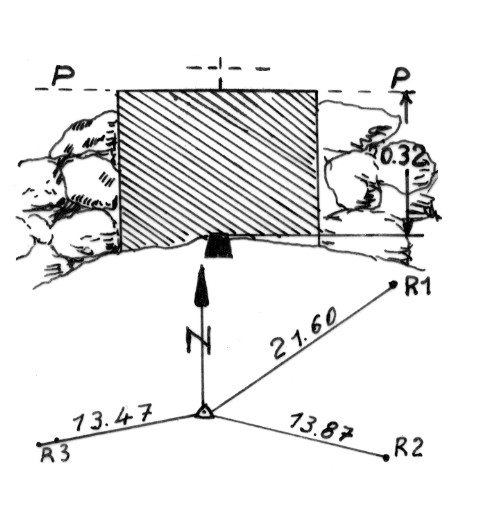
246024 – MONTE CUCCO

ID Univoco del prodotto: 25528

2,44  IVA incl.

Selezione modalità di acquisto

Descrizione

246024 – MONTE CUCCO

Informazioni aggiuntive

Codice e denominazione

246024 - MONTE CUCCO

Coordinate ETRF2000

38°38'52"N, 16°19'57"N

Anno misura

1937-01-01

Materializzazione

Segnale sul monte. Centrino di superficie, su masso affiorante. Riferimenti: come da pianta.

Accesso
Info ausiliarie
Anno istituzione

1937-01-01T00:00:00+00:00

Ordine del vertice

3

Tipo di vertice

Vertici di incerta definizione

Prodotti simili

175046 – MADONNA DI RIPALTA – FC

12,20  IVA incl.