icona-ricerca_bg
icona-accedi-registrati_bg

Area riservata/Registrati

Si informano i gentili utenti che, al momento, l’acquisto dei prodotti IGM è effettuabile esclusivamente tramite il sito ufficiale www.igmi.org
Il servizio di vendita diretta su questa piattaforma è in fase di implementazione e sarà reso disponibile prossimamente. Ci scusiamo per il temporaneo disagio.
Anteprima a bassa risoluzione del file originale e coperta da filigrana

244007 – MONTE FOSSA DELLE FELCI

ID Univoco del prodotto: 25575

12,20  IVA incl.

Selezione modalità di acquisto

Descrizione

244007 – MONTE FOSSA DELLE FELCI – Isola di Salina

Informazioni aggiuntive

Codice e denominazione

244007 - MONTE FOSSA DELLE FELCI - Isola di Salina

Coordinate ETRF2000

38°33'24"N, 14°50'44"N

Anno misura

1937-01-01

Materializzazione

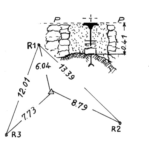
Segnale sul punto più elevato dell' isola. Centrini di fondo e di superficie in blocchi di calcestruzzo,sormontati da ammasso di pietrame a secco, sul quale è stata posta una croce in legno. Riferimenti: tre centrini infissi su roccia.

Accesso

Da Val di chiesa fino al punto, in auto, per strada sterrata in buone condizioni.

Info ausiliarie

Chiavi presso il Gestore Riserva M.F. delle Felci.

Anno istituzione

1937-01-01T00:00:00+00:00

Ordine del vertice

2

Tipo di vertice

Vertici di certa definizione

Prodotti simili

160141 – PICO TORRE OROLOGIO FC – FC

12,20  IVA incl.