icona-ricerca_bg
icona-accedi-registrati_bg

Area riservata/Registrati

Si informano i gentili utenti che, al momento, l’acquisto dei prodotti IGM è effettuabile esclusivamente tramite il sito ufficiale www.igmi.org
Il servizio di vendita diretta su questa piattaforma è in fase di implementazione e sarà reso disponibile prossimamente. Ci scusiamo per il temporaneo disagio.
Anteprima a bassa risoluzione del file originale e coperta da filigrana

242081 – VALLEFIORITA

ID Univoco del prodotto: 25592

12,20  IVA incl.

Selezione modalità di acquisto

Descrizione

242081 – VALLEFIORITA

Informazioni aggiuntive

Codice e denominazione

242081 - VALLEFIORITA

Coordinate ETRF2000

38°46'54"N, 16°27'36"N

Anno misura

1937-01-01

Materializzazione

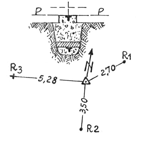
Segnale, alla base di un olivo, su di un costone a Nord-Est di Vallefiorita in località "Soverito". Centrini di superficie e di fondo. Riferimenti: R1, R2 centrini; R3 croce.

Accesso
Info ausiliarie
Anno istituzione

1937-01-01T00:00:00+00:00

Ordine del vertice

4

Tipo di vertice

Vertici di certa definizione

Prodotti simili

176026 – MURGE DI TORO – FC

12,20  IVA incl.