icona-ricerca_bg
icona-accedi-registrati_bg

Area riservata/Registrati

Si informano i gentili utenti che, al momento, l’acquisto dei prodotti IGM è effettuabile esclusivamente tramite il sito ufficiale www.igmi.org
Il servizio di vendita diretta su questa piattaforma è in fase di implementazione e sarà reso disponibile prossimamente. Ci scusiamo per il temporaneo disagio.
Anteprima a bassa risoluzione del file originale e coperta da filigrana

241034 – SEGNALE MADAMA

ID Univoco del prodotto: 25735

12,20  IVA incl.

Selezione modalità di acquisto

Descrizione

241034 – SEGNALE MADAMA

Informazioni aggiuntive

Codice e denominazione

241034 - SEGNALE MADAMA

Coordinate ETRF2000

38°42'50"N, 15°59'14"N

Anno misura

1937-01-01

Materializzazione

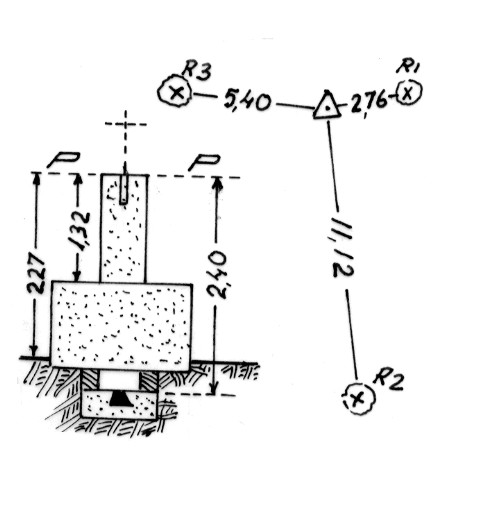
Segnale sul pianoro omonimo. Pilastrino con centrino di fondo in zinco interrato. Asse geometrico del pilastrino. Riferimenti: n. 3 come da pianta.

Accesso
Info ausiliarie
Anno istituzione

1937-01-01T00:00:00+00:00

Ordine del vertice

3

Tipo di vertice

Vertici di certa definizione

Prodotti simili

102081 – CIMA DI REGLIE

2,44  IVA incl.