icona-ricerca_bg
icona-accedi-registrati_bg

Area riservata/Registrati

Si informano i gentili utenti che, al momento, l’acquisto dei prodotti IGM è effettuabile esclusivamente tramite il sito ufficiale www.igmi.org
Il servizio di vendita diretta su questa piattaforma è in fase di implementazione e sarà reso disponibile prossimamente. Ci scusiamo per il temporaneo disagio.
Anteprima a bassa risoluzione del file originale e coperta da filigrana

244008 – LISCA BIANCA

ID Univoco del prodotto: 25934

12,20  IVA incl.

Selezione modalità di acquisto

Descrizione

244008 – LISCA BIANCA – Isola

Informazioni aggiuntive

Codice e denominazione

244008 - LISCA BIANCA - Isola

Coordinate ETRF2000

38°38'21"N, 15°6'46"N

Anno misura

1937-01-01

Materializzazione

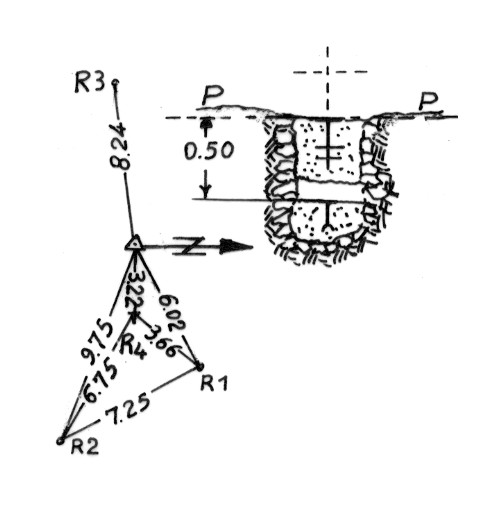
Segnale sul punto più alto dello scoglio "Lisca Bianca". Centrini di fondo e di superficie in blocchi di calcestruzzo. Riferimenti: R1, R2 centrini posti in fori ricavati sulla roccia; R3 centrino cementato nella frattura di una roccia; R4 croce incisa su roccia.

Accesso
Info ausiliarie
Anno istituzione

1937-01-01T00:00:00+00:00

Ordine del vertice

4

Tipo di vertice

Vertici di certa definizione

Prodotti simili

102082 – CIPPO N.397

2,44  IVA incl.