icona-ricerca_bg
icona-accedi-registrati_bg

Area riservata/Registrati

Si informano i gentili utenti che, al momento, l’acquisto dei prodotti IGM è effettuabile esclusivamente tramite il sito ufficiale www.igmi.org
Il servizio di vendita diretta su questa piattaforma è in fase di implementazione e sarà reso disponibile prossimamente. Ci scusiamo per il temporaneo disagio.
Anteprima a bassa risoluzione del file originale e coperta da filigrana

030044 – PIZZO DEL MORO

ID Univoco del prodotto: 27307

12,20  IVA incl.

Selezione modalità di acquisto

Descrizione

030044 – PIZZO DEL MORO

Informazioni aggiuntive

Codice e denominazione

030044 - PIZZO DEL MORO

Tipo di vertice

Vertici di certa definizione

Coordinate ETRF2000

45°55'49"N, 8°7'28"N

Ordine del vertice

3

Anno istituzione

1991-01-01T00:00:00+00:00

Anno misura

1991-01-01

Materializzazione

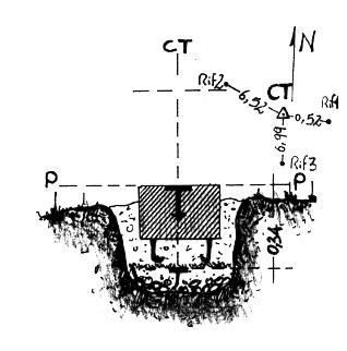
Sulla cima del monte omonimo. Centrino di superficie in blocco di cls preconfezionato con sottostante e coassiale centrino di fondo in getto di cls. Asse centrino di superficie. Sono presenti tre riferimenti costituiti da: Rif. R1 triangolo inciso su blocchetto di porfido a S.E. del CT; R2 croce incisa su roccia affiorante ad Ovest del CT; R3 centrino metallico a Sud del CT.

Accesso

Punto raggiunto con elitrasporto. Il percorso a piedi parte da Campo fino al Colle Baranca da qui sulla cresta rocciosa fino alla cima per un totale di circa 4 ore e 30'.

Info ausiliarie

Prodotti simili