icona-ricerca_bg
icona-accedi-registrati_bg

Area riservata/Registrati

Si informano i gentili utenti che, al momento, l’acquisto dei prodotti IGM è effettuabile esclusivamente tramite il sito ufficiale www.igmi.org
Il servizio di vendita diretta su questa piattaforma è in fase di implementazione e sarà reso disponibile prossimamente. Ci scusiamo per il temporaneo disagio.
Anteprima a bassa risoluzione del file originale e coperta da filigrana

013219 – MONTE RINALDO

ID Univoco del prodotto: 33337

12,20  IVA incl.

Selezione modalità di acquisto

Descrizione

013219 – MONTE RINALDO

Informazioni aggiuntive

Codice e denominazione

013219 - MONTE RINALDO

Coordinate ETRF2000

46°35'56"N, 12°39'29"N

Anno misura

1946-01-01

Materializzazione

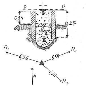
Segnale sulla cima del monte. Centrini di fondo e di superficie in vetro. Riferimenti: 2 centrini metallici R1, R2 e una in vetro R3 .

Accesso

Da Cima Canale per sentiero difficoltoso nell'ultimo tratto in circa 4 ore.

Info ausiliarie
Anno istituzione

1946-01-01T00:00:00+00:00

Ordine del vertice

4

Tipo di vertice

Vertici di certa definizione

Prodotti simili

176119 – ACQUATETTA

12,20  IVA incl.