icona-ricerca_bg
icona-accedi-registrati_bg

Area riservata/Registrati

Si informano i gentili utenti che, al momento, l’acquisto dei prodotti IGM è effettuabile esclusivamente tramite il sito ufficiale www.igmi.org
Il servizio di vendita diretta su questa piattaforma è in fase di implementazione e sarà reso disponibile prossimamente. Ci scusiamo per il temporaneo disagio.
Anteprima a bassa risoluzione del file originale e coperta da filigrana

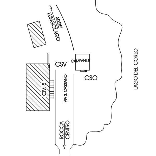
0182#_###_051# – ROCCA D’ARSIE’ – VIA S. CASSIANO

ID Univoco del prodotto: 43204

24,40 

Selezione modalità di acquisto

Capisaldi livellazione *

capisaldi-livellazione

Totale ordine:

Descrizione

0182#_###_051# – ROCCA D’ARSIE’ – VIA S. CASSIANO – Campanile

Informazioni aggiuntive

Codice e denominazione

0182#_###_051# - ROCCA D'ARSIE' - VIA S. CASSIANO - Campanile

Coordinate ETRF2000

45°57'24"N, 11°45'11"N

Anno misura

2006

Ultima ricognizione

2017

IGM95 Irradiati

[]

IGM95 Coincidenti

[]

Progressiva km

Km 46.172 dal Caposaldo 0181#_###_029#

Contrassegni

[{"simbolo_contrassegno":"B1","materializzazione":"(CSO) – Bullone IGM infisso a destra dell'ingresso al campanile."},{"simbolo_contrassegno":"V4","materializzazione":"(CSV) – Piastrina di altro Ente R.Veneto infissa presso lo spigolo destro del civ. 5, su via S. Cassiano."}]

Prodotti simili

0102#_###_079# – MURO DI SOSTEGNO a valle, al km. 291 della SS.N 11

24,40