icona-ricerca_bg
icona-accedi-registrati_bg

Area riservata/Registrati

Si informano i gentili utenti che, al momento, l’acquisto dei prodotti IGM è effettuabile esclusivamente tramite il sito ufficiale www.igmi.org
Il servizio di vendita diretta su questa piattaforma è in fase di implementazione e sarà reso disponibile prossimamente. Ci scusiamo per il temporaneo disagio.
Anteprima a bassa risoluzione del file originale e coperta da filigrana

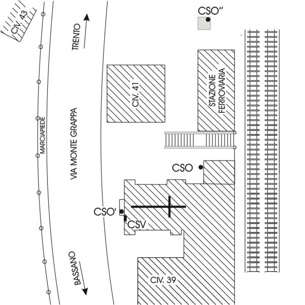
0182#_D03_002# – S. MARINO

ID Univoco del prodotto: 43226

24,40 

Selezione modalità di acquisto

Capisaldi livellazione *

capisaldi-livellazione

Totale ordine:

Descrizione

0182#_D03_002# – S. MARINO – Chiesa S. Antonio

Informazioni aggiuntive

Codice e denominazione

0182#_D03_002# - S. MARINO - Chiesa S. Antonio

Coordinate ETRF2000

45°53'51"N, 11°41'31"N

Anno misura

2006

Ultima ricognizione

2017

IGM95 Irradiati

[]

IGM95 Coincidenti

[]

Progressiva km

Km 28.988 dal Caposaldo 0182#_###_036#

Contrassegni

[{"simbolo_contrassegno":"B1","materializzazione":"(CSO) – Bullone IGM infisso sulla faccia, lato strada, del campanile."},{"simbolo_contrassegno":"B2","materializzazione":"(CSO') – Chiodo anonimo IGM infisso nel gradino all'ingresso della chiesa nell'angolo destro."},{"simbolo_contrassegno":"B4","materializzazione":"(CSO\") – Centrino universale R.Veneto infisso presso l'angolo del basamento di una piccola fontanella."},{"simbolo_contrassegno":"V4","materializzazione":"(CSV) – Piastrina di altro Ente R.Veneto infissa a destra della porta d'ingresso alla chiesa."}]

Prodotti simili

0102#_###_091# – S. CATALDO – Piazzola per ghiaia, al km. 303.08 de

24,40