icona-ricerca_bg
icona-accedi-registrati_bg

Area riservata/Registrati

Si informano i gentili utenti che, al momento, l’acquisto dei prodotti IGM è effettuabile esclusivamente tramite il sito ufficiale www.igmi.org
Il servizio di vendita diretta su questa piattaforma è in fase di implementazione e sarà reso disponibile prossimamente. Ci scusiamo per il temporaneo disagio.
Anteprima a bassa risoluzione del file originale e coperta da filigrana

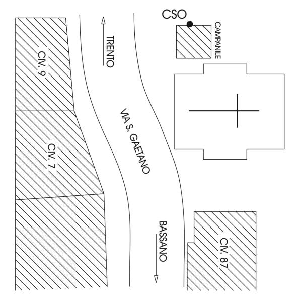
0182#_###_033# – S. GAETANO – CHIESA PARROCCHIALE

ID Univoco del prodotto: 43231

24,40 

Selezione modalità di acquisto

Capisaldi livellazione *

capisaldi-livellazione

Totale ordine:

Descrizione

0182#_###_033# – S. GAETANO – CHIESA PARROCCHIALE – Campanile

Informazioni aggiuntive

Codice e denominazione

0182#_###_033# - S. GAETANO - CHIESA PARROCCHIALE - Campanile

Coordinate ETRF2000

45°52'29"N, 11°40'31"N

Anno misura

2006

Ultima ricognizione

2009

IGM95 Irradiati

[]

IGM95 Coincidenti

[]

Progressiva km

Km 31.556 dal Caposaldo 0181#_###_029#

Contrassegni

[{"simbolo_contrassegno":"B1","materializzazione":"(CSO) – Bullone IGM infisso nel cordolo in pietra del campanile, lato nord."}]

Prodotti simili

0102#_###_091# – S. CATALDO – Piazzola per ghiaia, al km. 303.08 de

24,40