icona-ricerca_bg
icona-accedi-registrati_bg

Area riservata/Registrati

Si informano i gentili utenti che, al momento, l’acquisto dei prodotti IGM è effettuabile esclusivamente tramite il sito ufficiale www.igmi.org
Il servizio di vendita diretta su questa piattaforma è in fase di implementazione e sarà reso disponibile prossimamente. Ci scusiamo per il temporaneo disagio.
Anteprima a bassa risoluzione del file originale e coperta da filigrana

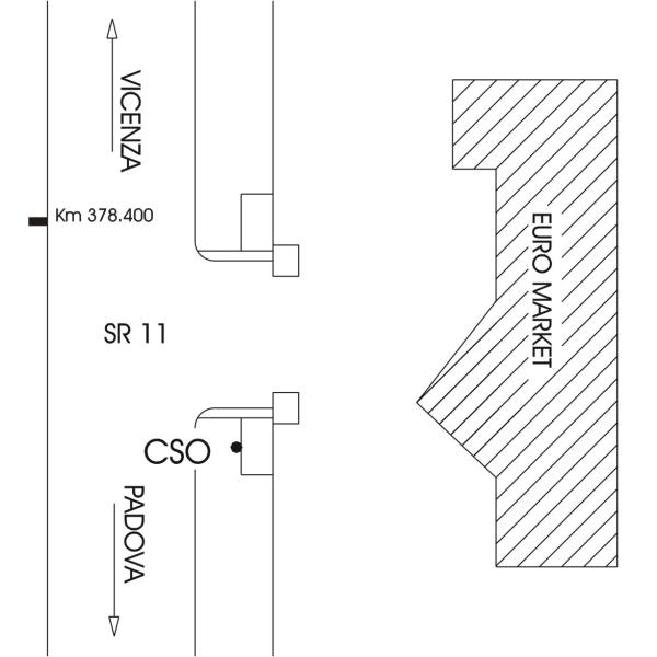
0041#_###_008# – RUBANO – VIA DELLA PROVVIDENZA

ID Univoco del prodotto: 43519

24,40 

Selezione modalità di acquisto

Capisaldi livellazione *

capisaldi-livellazione

Totale ordine:

Descrizione

0041#_###_008# – RUBANO – VIA DELLA PROVVIDENZA – Euromarket

Informazioni aggiuntive

Codice e denominazione

0041#_###_008# - RUBANO - VIA DELLA PROVVIDENZA - Euromarket

Coordinate ETRF2000

45°25'19"N, 11°48'19"N

Anno misura

2006

Ultima ricognizione

2006

IGM95 Irradiati

[]

IGM95 Coincidenti

[]

Progressiva km

Km 7.976 dal Nodale N021#_###_####

Contrassegni

[{"simbolo_contrassegno":"B1","materializzazione":"(CSO) – Bullone IGM infisso alla base della spalla destra del ponticello di accesso all'Euromarket."}]

Prodotti simili

0102#_###_083# – CABINA ELETTR. E.N.E.L. al km. 295.033 della SS. 1

24,40