Descrizione
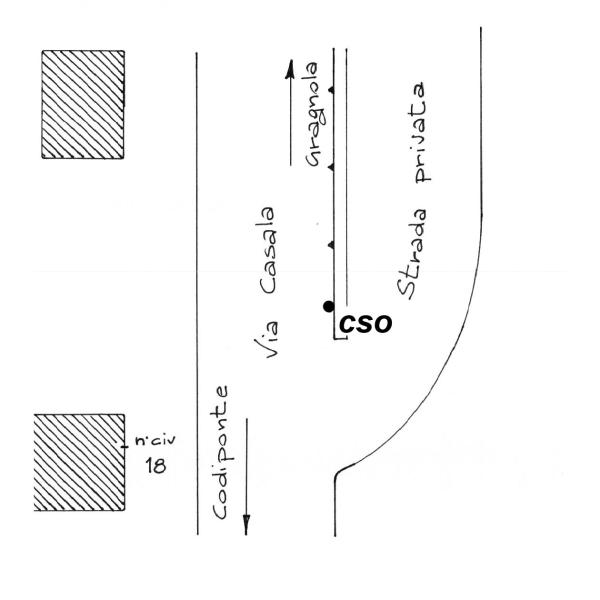
0162#_###_015# – GRAGNOLA – Via Casala, 18
24,40 €
0162#_###_015# – GRAGNOLA – Via Casala, 18
| Codice e denominazione | 0162#_###_015# - GRAGNOLA - Via Casala, 18 |
|---|---|
| Coordinate ETRF2000 | 44°11'43"N, 10°6'39"N |
| Anno misura | 2006 |
| Ultima ricognizione | 2006 |
| Progressiva km | Km 14.794 dal Caposaldo 0033#_###_016# |
| Contrassegni | [{"simbolo_contrassegno":"B1","materializzazione":"(CSO) – Bullone infisso sulla parete del muro di sostegno della strada privata in via Casala, davanti al nc 18"}] |
| IGM95 Coincidenti | [] |
| IGM95 Irradiati | [] |