icona-ricerca_bg
icona-accedi-registrati_bg

Area riservata/Registrati

icona-lingua-ITA

It

Si informano i gentili utenti che, al momento, l’acquisto dei prodotti IGM è effettuabile esclusivamente tramite il sito ufficiale www.igmi.org
Il servizio di vendita diretta su questa piattaforma è in fase di implementazione e sarà reso disponibile prossimamente. Ci scusiamo per il temporaneo disagio.
Anteprima a bassa risoluzione del file originale e coperta da filigrana

0024#_###_145# – S.S. 7 APPIA

ID Univoco del prodotto: 54078

24,40 

Selezione modalità di acquisto

Capisaldi livellazione *

capisaldi-livellazione

Totale ordine:

Descrizione

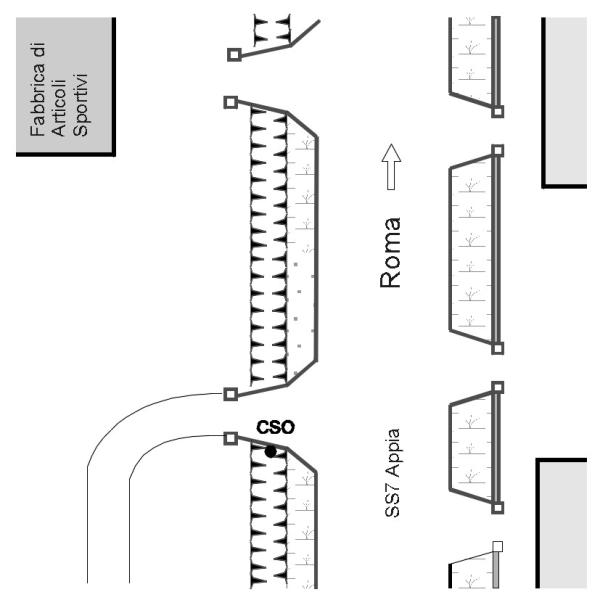
0024#_###_145# – S.S. 7 APPIA – Rampa d’accesso

Informazioni aggiuntive

progressiva km

Km 148.92 dal Nodale N047#_###_####

ultima ricognizione

1999

Coordinate ETRF2000

41°36'31"N, 12°48'39"N

Contrassegni

[{"simbolo_contrassegno":"B1","materializzazione":"(CSO) Bullone infisso a fianco del tombino che passa sotto alla rampa d'accesso in c. a. al terreno privato, fiancheggiante una fabbrica d'articoli sportivi."}]

IGM95 Irradiati

[]

anno misura

1999

Prodotti simili

0102#_###_085# – MURO DI SOSTEGNO a valle al km. 297.056 della SS.N

24,40