icona-ricerca_bg
icona-accedi-registrati_bg

Area riservata/Registrati

icona-lingua-ITA

It

Si informano i gentili utenti che, al momento, l’acquisto dei prodotti IGM è effettuabile esclusivamente tramite il sito ufficiale www.igmi.org
Il servizio di vendita diretta su questa piattaforma è in fase di implementazione e sarà reso disponibile prossimamente. Ci scusiamo per il temporaneo disagio.
Anteprima a bassa risoluzione del file originale e coperta da filigrana

258162 – SERRE DEL PARRINO

ID Univoco del prodotto: 9759

12,20  IVA incl.

Selezione modalità di acquisto

Descrizione

258162 – SERRE DEL PARRINO

Informazioni aggiuntive

accesso
info ausiliarie
Coordinate ETRF2000

37°50'44"N, 13°4'29"N

Materializzazione

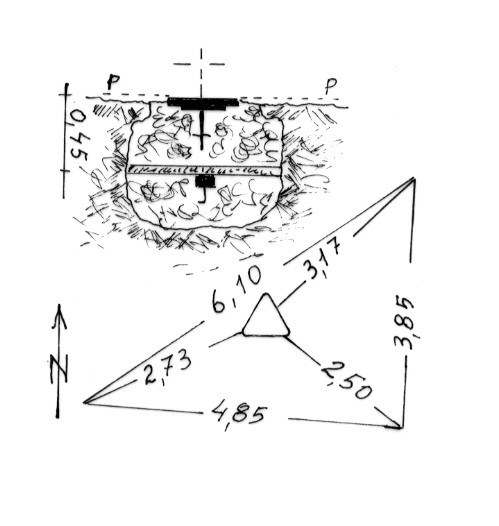
Segnale sulla parte più alta del monte. Centrini di superficie e di fondo cementati in blocco di calcestruzzo all'inizio di un filare di viti. Riferimenti: 3 centrini metallici cementati.

anno misura

1975-01-01

Prodotti simili

102081 – CIMA DI REGLIE

2,44  IVA incl.