icona-ricerca_bg
icona-accedi-registrati_bg

Area riservata/Registrati

Si informano i gentili utenti che, al momento, l’acquisto dei prodotti IGM è effettuabile esclusivamente tramite il sito ufficiale www.igmi.org
Il servizio di vendita diretta su questa piattaforma è in fase di implementazione e sarà reso disponibile prossimamente. Ci scusiamo per il temporaneo disagio.
Anteprima a bassa risoluzione del file originale e coperta da filigrana

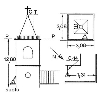
030103 – BERTAGNINA CHIESA DI SAN CARLO

ID Univoco del prodotto: 9902

12,20  IVA incl.

Selezione modalità di acquisto

Descrizione

030103 – BERTAGNINA CHIESA DI SAN CARLO

Informazioni aggiuntive

Codice e denominazione

030103 - BERTAGNINA CHIESA DI SAN CARLO

Tipo di vertice

Vertici di certa definizione

Coordinate ETRF2000

45°44'13"N, 8°21'35"N

Ordine del vertice

3

Anno istituzione

1989-01-01T00:00:00+00:00

Anno misura

1989-01-01

Materializzazione

Campanile della chiesa di San Carlo nel comune di Valduggia ( Fraz. Bertagnina). Centrino di fondo cementato tra due pietre del pavimento del cornicione alla base della guglia. (GPS).

Accesso

Da Pogno si procede a sud per Valduggia, dopo circa 3,5 km si giunge in località Strona; circa 150 mt. prima di una galleria si imbocca a nord una stradina che passando sopra alla galleria porta alla chiesa.

Info ausiliarie

Prodotti simili